Magnetic bubble type level

Abstract

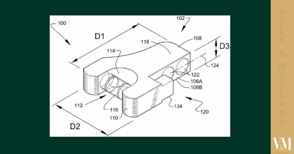
A specially designed bubble type level usable to verify that an angle made in a tubular structure for example, electrical conduit, is level. The apparatus is particularly useful during manual bending of electrical conduit and similar field-modified tubular structures. The apparatus allows for quick and efficient magnetic coupling to metallic conduit, without the need to turn a thumbwheel or screw. In addition, the apparatus of the present disclosure comprises a compact physical size, allowing the device to be operated with one hand and to easily fit into a user’s pocket.

Protect Your Invention

Befor it's too late

We secure patents that safeguard your hard work, stop copycats, and give your business a competitive edge.