
Secure strap systems
Abstract A strap system for selectively and independently binding and/or releasing at least one sets of essentially longitudinal objects, such as wires, from one another.
Your idea is your future.
We keep it secure and exclusively yours.

Abstract A strap system for selectively and independently binding and/or releasing at least one sets of essentially longitudinal objects, such as wires, from one another.

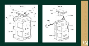
Abstract A combined motor-battery system comprising an electric power source adapted to convert self-originating electrical current to mechanical power utilizing a set of common functional

Abstract A retail display system for increasing density of merchandising of products, by using the otherwise unused space of existing display configurations. A hanger display

Abstract A retail display system for increasing density of merchandising of products, by using the otherwise unused space of existing display configurations. A hanger display

Abstract A system providing efficient cataloging and storage of data-storage devices. The system comprises a plurality of removable holders adapted to hold at least one

Abstract A musical instrument pickup comprising a plurality of coil-wire wrappings, each coil having a particular geometric cross-section. Each coil-wire wrapping is positioned around a

Abstract A system which is primarily of use for lawyers, judges and electronic court reporters operates to correlate personal log notes with digitally recorded audio

Abstract The present invention provides improved pedorthic systems for patients having partial foot amputations or foot neuropathies. Custom-molded, custom-made pedorthics with leather linings and molded

Abstract A retail display system for increasing density of merchandising of products, by using the otherwise unused space of existing display configurations. A hanger display

Abstract A combined motor-battery system comprising an electric power source adapted to convert self-originating electrical current to mechanical power utilizing a set of common functional

Abstract A custom articulated ankle-foot orthosis (AFO) system is disclosed that is formed on a cast of the wearer’s foot. It has an adjustably tightenable

View Full Patent Protect Your Invention Befor it’s too late We secure patents that safeguard your hard work, stop copycats, and give your business a

Abstract A diaper changing mat comprising an attached, flexible and infant-drapeable, fold-over urine shield structured and arranged to prevent urine exposure from infant-generated urine while

Abstract Dual display screens are oriented back-to-back such that one display screen is visible from a first direction and one display screen is visible from

Abstract A system for improved magnetization of flexible magnetic sheet material, such as magnetic rubber. More particularly, this invention relates to providing a system for

Abstract A portable system for documenting the height of one or more children during their growth. The system comprises an elongated frame that can be

View Full Patent Protect Your Invention Befor it’s too late We secure patents that safeguard your hard work, stop copycats, and give your business a

Abstract A security cover is disclosed for protecting installed avionics instruments and other electronic instruments. The cover includes multiple independent automatic locks that activate when

View Full Patent Protect Your Invention Befor it’s too late We secure patents that safeguard your hard work, stop copycats, and give your business a

Abstract Medical component systems are described in which individual hand-held components are enhanced by adjacent restraint and by combinations of function, including: suction devices with

View Full Patent Protect Your Invention Befor it’s too late We secure patents that safeguard your hard work, stop copycats, and give your business a

Abstract A retaining wall for supporting and stabilizing cut or fill areas of excavation and a method of constructing a retaining wall. The wall is

View Full Patent Protect Your Invention Befor it’s too late We secure patents that safeguard your hard work, stop copycats, and give your business a

Abstract The financial decision system provides for real-time calculation of buying pressure and selling pressure for any tradable instrument market. Additionally, it provides real-time visual

Abstract The financial decision system provides for real-time calculation of buying pressure and selling pressure for any tradable instrument market. Additionally, it provides real-time visual

Abstract A capo system for stringed instruments, in particular, guitars. A preferred embodiment of the system comprises a clamping assembly in combination with an under-string

View Full Patent Protect Your Invention Befor it’s too late We secure patents that safeguard your hard work, stop copycats, and give your business a

View Full Patent Protect Your Invention Befor it’s too late We secure patents that safeguard your hard work, stop copycats, and give your business a

View Full Patent Protect Your Invention Befor it’s too late We secure patents that safeguard your hard work, stop copycats, and give your business a

Abstract This invention relates to the automatic pointing of a pointing device, such as a camera, without the assistance of a person who operates the

View Full Patent Protect Your Invention Befor it’s too late We secure patents that safeguard your hard work, stop copycats, and give your business a

View Full Patent Protect Your Invention Befor it’s too late We secure patents that safeguard your hard work, stop copycats, and give your business a

Abstract Anti-theft protection systems and methods for portable devices, such as portable electronic devices, that are unattended during use. The anti-theft protection systems and methods

Abstract Anti-theft protection systems and methods for portable devices, such as portable electronic devices, that are unattended during use. The anti-theft protection systems and methods

View Full Patent Protect Your Invention Befor it’s too late We secure patents that safeguard your hard work, stop copycats, and give your business a

View Full Patent Protect Your Invention Befor it’s too late We secure patents that safeguard your hard work, stop copycats, and give your business a

View Full Patent Protect Your Invention Befor it’s too late We secure patents that safeguard your hard work, stop copycats, and give your business a

Abstract A remotely controlled automatic camera tracking system for self-photography is disclosed. The systems hereof combine the functions of remote camera operation, including closed loop

View Full Patent Protect Your Invention Befor it’s too late We secure patents that safeguard your hard work, stop copycats, and give your business a

View Full Patent Protect Your Invention Befor it’s too late We secure patents that safeguard your hard work, stop copycats, and give your business a

View Full Patent Protect Your Invention Befor it’s too late We secure patents that safeguard your hard work, stop copycats, and give your business a

View Full Patent Protect Your Invention Befor it’s too late We secure patents that safeguard your hard work, stop copycats, and give your business a

Abstract This invention relates to the automatic pointing of a pointing device, such as a camera, without the assistance of a person who operates the

View Full Patent Protect Your Invention Befor it’s too late We secure patents that safeguard your hard work, stop copycats, and give your business a

View Full Patent Protect Your Invention Befor it’s too late We secure patents that safeguard your hard work, stop copycats, and give your business a

Abstract A remotely controlled automatic camera tracking system for self-photography is disclosed. The systems hereof combine the functions of remote camera operation, including closed loop

Abstract A waterproof electronic device with a soft polymer embedding enclosure configured to seal components embedded in the soft polymer embedding enclosure from water by

View Full Patent Protect Your Invention Befor it’s too late We secure patents that safeguard your hard work, stop copycats, and give your business a

View Full Patent Protect Your Invention Befor it’s too late We secure patents that safeguard your hard work, stop copycats, and give your business a

Abstract Welding assistance systems to rotate a piping system component for welding purposes. The welding assistance systems hereof permit pivoting of the item to be

View Full Patent Protect Your Invention Befor it’s too late We secure patents that safeguard your hard work, stop copycats, and give your business a

Abstract An automated video editing system uses user inputs and metadata combined with machine learning technology to gradually improve editing techniques as more footage is

View Full Patent Protect Your Invention Befor it’s too late We secure patents that safeguard your hard work, stop copycats, and give your business a

View Full Patent Protect Your Invention Befor it’s too late We secure patents that safeguard your hard work, stop copycats, and give your business a

Abstract In the field of well drilling, a bail link extender device connected to a drilling rig enabling the working length of an elevator links

Abstract System and methods for pointing a device, such as a camera, at a remote target wherein the pointing of the device is controlled by

Abstract A video sharing method for automatic video recording and for sharing recorded videos, comprising: registering specialized equipment and users; accepting and storing video files

View Full Patent Protect Your Invention Befor it’s too late We secure patents that safeguard your hard work, stop copycats, and give your business a

View Full Patent Protect Your Invention Befor it’s too late We secure patents that safeguard your hard work, stop copycats, and give your business a

Abstract A compliant electronic device is presented. The device may be, for example a wearable display for sports applications. The compliant electronic device comprises a

Abstract The video recording systems disclosed herein comprise recording devices built in a variety of system architectures depending on the type of intended use. The

View Full Patent Protect Your Invention Befor it’s too late We secure patents that safeguard your hard work, stop copycats, and give your business a

View Full Patent Protect Your Invention Befor it’s too late We secure patents that safeguard your hard work, stop copycats, and give your business a

Abstract System and methods for pointing a device, such as a camera, at a remote target wherein the pointing of the device is controlled by

View Full Patent Protect Your Invention Befor it’s too late We secure patents that safeguard your hard work, stop copycats, and give your business a

View Full Patent Protect Your Invention Befor it’s too late We secure patents that safeguard your hard work, stop copycats, and give your business a

View Full Patent Protect Your Invention Befor it’s too late We secure patents that safeguard your hard work, stop copycats, and give your business a

View Full Patent Protect Your Invention Befor it’s too late We secure patents that safeguard your hard work, stop copycats, and give your business a

View Full Patent Protect Your Invention Befor it’s too late We secure patents that safeguard your hard work, stop copycats, and give your business a

Abstract A portable towing system for a motorcycle or similar vehicle, such as a trike, the frame of which can be lowered to ground level

Abstract A system of hair styling brushes comprising a thermal plate situated over a resilient cushion member having bristles integrated with the resilient cushion member

View Full Patent Protect Your Invention Befor it’s too late We secure patents that safeguard your hard work, stop copycats, and give your business a

View Full Patent Protect Your Invention Befor it’s too late We secure patents that safeguard your hard work, stop copycats, and give your business a

View Full Patent Protect Your Invention Befor it’s too late We secure patents that safeguard your hard work, stop copycats, and give your business a

View Full Patent Protect Your Invention Befor it’s too late We secure patents that safeguard your hard work, stop copycats, and give your business a

View Full Patent Protect Your Invention Befor it’s too late We secure patents that safeguard your hard work, stop copycats, and give your business a

Abstract A system and method are provided for automatic cooperative object tracking using gain comparison of antenna pairs facing different directions. In cooperative object tracking,

Abstract A portable welding ground clamp attachment system used to attach a welding ground clamp (also called a work clamp or work cable) of an

Abstract A portable welding ground clamp attachment system used to attach a welding ground clamp (also called a work clamp or work cable) of an

Abstract A hair brush system with a rapid, consistent, and efficient means for connecting and ejecting the brush handle from the brush head. The hair

Abstract A beehive treatment system utilizing an oxalic acid vaporization process is used to treat honey bee colonies against the adverse effects of infestation by

Abstract A beehive treatment system utilizing an oxalic acid vaporization process is used to treat honey bee colonies against the adverse effects of infestation by

Abstract A portable towing system for a motorcycle or similar vehicle, such as a trike, the frame of which can be lowered to ground level

Abstract A specially designed bubble type level usable to verify that an angle made in a tubular structure for example, electrical conduit, is level. The

Abstract Current indoor tracking methods are inadequate to accurately and reliably point a pointer or camera at an object or a person doing an activity.

Abstract An on-site electrical power generation system utilizing environmentally hazardous waste oils as a combustible fuel. The disclosed invention utilizes environmentally hazardous waste oils generated

View Full Patent Protect Your Invention Befor it’s too late We secure patents that safeguard your hard work, stop copycats, and give your business a

View Full Patent Protect Your Invention Befor it’s too late We secure patents that safeguard your hard work, stop copycats, and give your business a

View Full Patent Protect Your Invention Befor it’s too late We secure patents that safeguard your hard work, stop copycats, and give your business a

View Full Patent Protect Your Invention Befor it’s too late We secure patents that safeguard your hard work, stop copycats, and give your business a

View Full Patent Protect Your Invention Befor it’s too late We secure patents that safeguard your hard work, stop copycats, and give your business a

View Full Patent Protect Your Invention Befor it’s too late We secure patents that safeguard your hard work, stop copycats, and give your business a

View Full Patent Protect Your Invention Befor it’s too late We secure patents that safeguard your hard work, stop copycats, and give your business a

View Full Patent Protect Your Invention Befor it’s too late We secure patents that safeguard your hard work, stop copycats, and give your business a

Abstract An on-site electrical power generation system utilizing environmentally hazardous waste oils as a combustible fuel. The disclosed invention utilizes environmentally hazardous waste oils generated